Unsere aktuellen Termine (2026): 18.-19.04.2026; 13.-14.06.2026; 13.09.2026; 19.09.2026; 10.-11.10.2026 Außerhalb der Veranstaltungen: vom 04.04.2026 bis 24.10.2026 samstags von 10:00-17:00 Uhr. Weitere Informationen gibt es hier.
18.-19.04.2026: Saisoneröffnung
-- 31 --
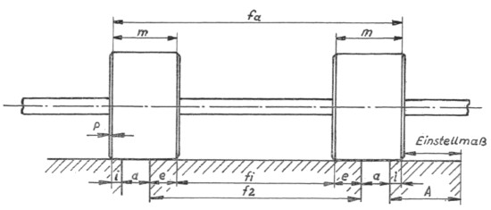
Behelf zum Vermessen der inneren Steuerung
Istmaße in mm
Maß
links
hinten
vorn
Mitte
hinten
vorn
rechts
hinten
vorn
m
fi
fa
p
e
f2
A
Dampflokfreunde Salzwedel e.V. Am Bahnhof 6, 19322 Wittenberge